[ss_click_to_tweet tweet=”Kawasaki patent: two-stroke engine with cross-plane crank and compressor for hybrid” content=”Kawasaki patent: two-stroke engine with cross-plane crank and compressor for hybrid” style=”default”]
Kawasaki could bring the two-stroke engine back, but in a different way if you can believe recent patent applications that appeared.
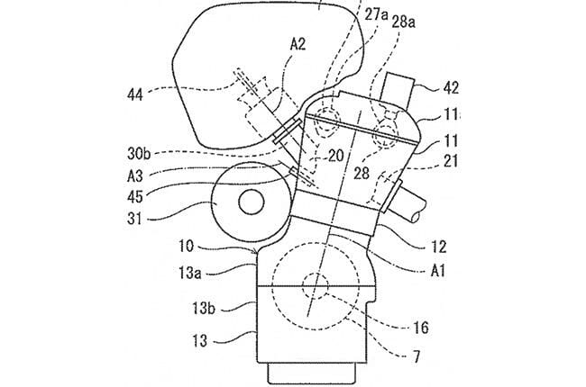
Nowadays two-stroke engines are mainly used in the off-road sector, otherwise four-stroke engines have taken over the field. Kawasaki is apparently working on a four-cylinder two-stroke engine, which is combined with a cross-plane crank and a compressor.
The problem with two-stroke engines is the currently strict emission regulations. However, they can also run efficiently if they have been set correctly and are only operated at a low speed.
Here they want to use a hybrid system, the engine could be used to charge a battery system for an electric drive. This would allow the engine to work at a low speed.
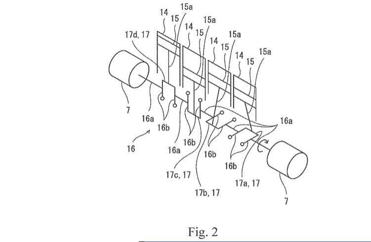
The two-stroke engine is said to be supported by a compressor, which is supposed to help achieve a clean performance, since the engine runs more efficiently through more air. The design also has valves on the top of the cylinder, both of which open at the same time to get fresh air from the compressor and at the same time to push the exhaust gases out. This should make the engine run very efficiently.
[amazon box=”B084SR1B8H”]









