Warm through the winter: Indian Motorcycles’ innovative solution
A revolutionary solution could soon be available for hardened motorcyclists who do not want to give up their passion even in the cold season. Indian Motorcycles is working on a new type of heated motorcycle clothing that works without cables and instead relies on inductive energy transmission. Inspired by the technology of wireless smartphone chargers, this development could fundamentally change motorcycling in winter.
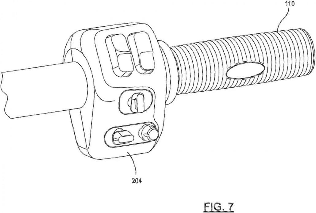
How does the system work?
The principle is simple yet ingenious: the motorcycle clothing, similar to a smartphone on a charging station, is charged via the motorcycle itself. Instead of the usual wired heating technology, which is often cumbersome and inefficient, the developers at Indian use innovative induction technology. Inductive coils attached to various parts of the motorcycle – such as the saddle, backrest, footrests and handlebars – allow the clothing to be charged while riding. This results in more efficient heat transfer directly to the rider’s body.
More than just warmth
Indian Motorcycles goes one step further. The technology also includes sensors that regulate the temperature to ensure constant and comfortable warmth. This means that motorcyclists no longer have to worry about manually adjusting the temperature. The system automatically adapts to the outside conditions, providing a kind of automatic climate control system.
The future is wireless
Another interesting feature is the ability to charge the bike itself via a wireless charging mat. This is done via the motorcycle’s side stand, which is placed on the mat. Such an innovation not only offers convenience, but also efficiency in the handling and maintenance of the motorcycle.
However, the extended charging times caused by induction charging are already problematic for cell phones, so it still seems far-fetched to make this technology usable or practical for charging a motorcycle.
A look into the future
Although some aspects of the patent, such as the use of heart rate sensors in clothing, may still seem far-fetched, the basic idea of inductive energy transfer for heated motorcycle clothing shows great potential. This technology could represent a significant advance on the options currently available. However, the patent also suggests that universal, cross-brand standardization of the technology could pose a challenge.
Conclusion
Indian Motorcycles’ development promises to fundamentally improve the experience of riding a motorcycle in cold climates. With this innovative technology, the days of cumbersome and inefficient heated clothing could be numbered. It remains to be seen how quickly this technology will be made available to the masses of motorcyclists, but one thing is certain: the future of motorcycle clothing looks warmer and more technologically advanced than ever.




- WINDDICHT & WARM: Die äußere Schicht der ROCKBROS Sturmhaube ist winddicht, während das Innenfutter aus weichem Fleece besteht. Sie bietet zuverlässigen Schutz vor Kälte, Wind, Staub und...
- KOMFORT: Dank des elastischen Materials ist die Balaclava besonders weich und angenehm zu tragen. Sie passt sich ideal an unterschiedliche Kopfformen von Damen und Herren an
- MULTIFUNKTIONAL: Ideal für Outdoor-Aktivitäten wie Radfahren, Motorradfahren, Skifahren, Snowboarden, Bergsteigen oder Wandern, geeignet für Frühling, Herbst und Winter
- REFLEKTIEREND: Das reflektierende Logo sorgt für bessere Sichtbarkeit und mehr Sicherheit bei Dunkelheit oder schlechten Lichtverhältnissen
- FARBVIELFALT & STIL: Erhältlich in verschiedenen Farben. Die ROCKBROS Sturmhaube ist nicht nur funktional, sondern auch ein stylisches Accessoire für jeden Outdoor-Look
- ✅ EXTREME WÄRME & WIND-/WASSERSCHUTZ – Hochwertiges 3-Schicht-Material (außen Oxford-Gewebe, innen Baumwolle/Kaschmir) hält Kälte, Nässe und Wind effektiv ab. Ideal für Winter-Aktivitäten...
- ✅ 4-FACH KLEVERSCHLUSS & ANATOMISCHE PASSFORM – 4 verstellbare Klettbänder für perfekte Fixierung an Oberschenkel/Wade. Rutschfester Sitz auch bei langen Motorrad-Fahrten.
- ✅ REFLEKTOREN FÜR NACHT-SICHERHEIT – Integrierte reflektierende Logos erhöhen Sichtbarkeit im Dunkeln. Erfüllt DIN-Norm für verkehrssicheres Zubehör.
- ✅ 3D-GELENKFREIHEIT & ATMUNGSAKTIV – Bewegungsoptimierter Schnitt behindert nicht beim Lenken/Bremsen. Klimaregulierendes Innenfaser beugt Schwitzen vor.
- ✅ UNIVERSAL FÜR ALLE WINTERSPORTE – Perfekt für Motorrad, Fahrrad, Ski, Snowboard, Wandern oder Stadt-Commuting. Leicht an-/abzulegen über Hosen.
- ✔ UMFASSENDER WETTERSCHUTZ: Winddichtes Gewebe schützt Kopf und Hals vor kaltem Wind, Schnee und Sonne. Weiches Thermofleece auf der Innenseite hält Sie warm und bequem. Kann als warme Sturmhaube...
- ✔ HOHER TRAGEKOMFORT MIT ELASTIZITÄT: Wir verwenden speziell entwickelte Polyesterfasern und SUPERIOR DESIGN, um hochwertige Sturmhauben zu produzieren, die hervorragende Leistungen in Bezug auf...
- ✔ VERBESSERTES DESIGN 2025: längerer Hals und extra lange Vorderseite für besseren Wind- und Kälteschutz, verbesserter Schnitt und anderer Nähwinkel für besseren Sitz auf dem Kopf. Diese...
- ✔ SUPERIOR SCHUTZEN das ganze Jahr über: Vielseitige Sturmhaube. Diese Wintersturmhaube besteht aus einem warmen und atmungsaktiven, feuchtigkeitsableitenden Stretchmaterial, das dafür sorgt, dass...
- ✔ Tragen Sie Balaclava unter dem Helm: HAZENS Balaclava kann im Winter unter dem Fahrrad-, Ski- oder Motorradhelm getragen werden, sie passt hervorragend unter den Helm. Strapazierfähiger Stoff...
Letzte Aktualisierung am 2025-11-04 / *Affiliate Links / Bilder von der Amazon Product Advertising API













