Gründe für den Rückzug: Mehr als nur Finanzen
Die offiziellen Gründe für Suzukis Rückzug waren vielseitig. Finanzielle Herausforderungen und sich verändernde Markttrends wurden als Hauptgründe genannt. Darüber hinaus spielten aber auch Überlegungen zur Kohlenstoffneutralität und Nachhaltigkeit eine entscheidende Rolle. Während manche Beweggründe verständlich sind, bleibt die Entscheidung dennoch bedauerlich, besonders da Suzuki in einer Phase war, in der es gelang, sich mit innovativer Technik und cleverer Aerodynamik in der MotoGP einen Namen zu machen.
Die Bedeutung der Aerodynamik für Suzukis Erfolg
Suzuki war bekannt für die Perfektionierung des in-line Vierzylinder-Motors, ähnlich wie Yamaha. Dies machte die Marke in den letzten Jahren zu einer ernstzunehmenden Konkurrenz für andere große Hersteller wie Honda und Yamaha, die lange Zeit die MotoGP dominierten. Besonders auffällig war Suzukis Fortschritt in der Aerodynamik. Dank eines neuen Aero-Pakets, das F1-ähnliche Technologien einführte, wurde die GSX-RR zu einer der schnellsten Maschinen auf der Geraden, mit Spitzengeschwindigkeiten von über 220 mph (ca. 354 km/h). Diese aerodynamischen Fortschritte trugen auch dazu bei, dass die Maschine eine der besten Kurvenlagen im Feld aufwies.
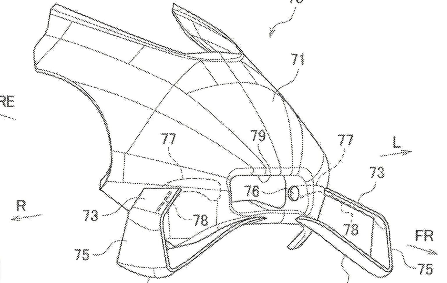
Ein kürzlich veröffentlichtes Patent enthüllte, dass Suzuki vor dem Rückzug aus der MotoGP an einem innovativen aerodynamischen Konzept arbeitete: ducted winglets. Diese speziell gestalteten Flügel sollten unter extremen Bedingungen wie Beschleunigung, Bremsen und Kurvenfahrten zusätzlichen Abtrieb erzeugen und gleichzeitig den Luftwiderstand auf den Geraden minimieren. Die patentierten Entwürfe zeigen mehrere Varianten dieses Systems, darunter eine Version, bei der Luft durch Schlitze an der Unterseite der Flügel geleitet wird. Diese Technologie könnte den Abtrieb bei hohen Geschwindigkeiten reduzieren, ohne ihn bei niedrigeren Geschwindigkeiten zu beeinträchtigen.
Die Inspiration aus der Formel 1
Die Idee hinter den ducted winglets lässt sich auf Systeme zurückführen, die vor über einem Jahrzehnt in der Formel 1 entwickelt wurden. Ein bekanntes Beispiel ist das „F-duct“, das McLaren 2010 einführte. Dieses System ermöglichte es, durch gezielte Luftführung den Abtrieb und damit den Luftwiderstand bei hohen Geschwindigkeiten zu reduzieren. Obwohl diese Systeme in der Formel 1 inzwischen verboten sind, griff Suzuki ähnliche Konzepte auf, um ihre MotoGP-Maschinen zu optimieren.
Das von Suzuki patentierte System könnte sogar durch Ventile gesteuert werden, die entweder manuell oder elektronisch den Luftstrom unter den Flügeln in verschiedenen Fahrbedingungen an- oder ausschalten. Dies könnte besonders in Kurven von Vorteil sein, da es ermöglicht, den Abtrieb gezielt auf einer Seite der Maschine zu aktivieren und so die Stabilität und den Grip zu verbessern.
Ein Blick in die Zukunft: Wird das Patent jemals Realität?
Es bleibt unklar, ob diese innovativen Ideen jemals an den MotoGP-Maschinen von Suzuki zum Einsatz kamen, bevor das Unternehmen sich aus dem Wettbewerb zurückzog. Viele der Prototypen und Teile wurden nach dem Rückzug zerstört, was es schwierig macht, die tatsächlichen Fortschritte zu beurteilen. Dennoch zeigt das Patent, wie fortschrittlich die Technologien waren, an denen Suzuki arbeitete.
Es ist nicht auszuschließen, dass andere Teams das Patent genau unter die Lupe nehmen werden, um herauszufinden, ob sie von diesen Ideen profitieren könnten. Die MotoGP entwickelt sich ständig weiter, und die aerodynamischen Fortschritte, die Suzuki anstrebte, könnten in der Zukunft eine Rolle spielen, wenn es darum geht, die schnellsten und stabilsten Maschinen auf die Strecke zu bringen. Gerade da die Winglets an der Front ab 2027 um 5cm schmäler werden müssen, ist es sicherlich für viele Hersteller interessant, wie es möglich ist diesen „Nachteil“ wieder auszugleichen.
Fraglich bleibt dabei allerdings, inwieweit der Sport davon profitieren könnte, da die Beschneidung der Aerodynamik eigentlich eingeführt werden soll, da das Überholen immer schwieriger geworden ist und die Rennen dadurch auch viel langweiliger wurden. Vielleicht wäre es besser, das Patent ganz schnell wieder in der Versenkung verschwinden zu lassen.
[amazon bestseller=“MotoGP Suzuki“ items=“1″]




Redakteur bei Motorrad Nachrichten. Fokus auf Technik, Szene und Motorradpolitik – neutral, sachlich, verständlich.
Verantwortlich für die Seiten www.Motorcycles.News, www.Motorrad.Training und den YouTube-Kanal "Motorrad Nachrichten", sowie deren social Media-Seiten.









