Kommt ein elektrisches Mittelklasse-Bike von Kawa?
Kawasaki Elektro-Patente
Kawasaki arbeitet scheinbar an elektrischen Motorrädern, zumindest lassen neue Patentanmeldungen darauf schließen.
Auf den Patentzeichnungen sieht man ein Motorrad mit Gitterrohrrahmen, der sich öffnen lässt, um die für den Elektroantrieb nötige Batterie zu tauschen. Die schwere Batterie kann über einen Schlitten angehoben, entfernt und somit leicht und schnell gegen eine volle Batterieeinheit getauscht werden. Lange Ladezeiten werden auf diese Art umgangen.
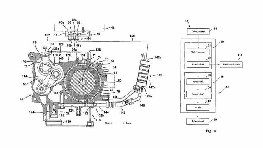
Da auch Elektomotoren ein bestimmtes Temperaturfenster benötigen, um optimal zu arbeiten, hat Kawasaki noch zwei weitere Patente angemeldet. Einmal handelt es sich um eine Art RamAir, die den kühlenden Wind auf die Batterie leitet. Das zweite Patent zeigt die Motor/Getriebe-Einheit die mit Öl gekühlt wird. Um das Öl auf Temperatur zu halten läuft es durch einen groß dimensionierten Ölkühler.
Ob das wirklich so auf den Markt kommen wird ist allerdings noch offen.
- LEDMOMO
- LEDMOMO 3D Lampe Nachtlicht Stimmungslicht Tischlampen Motorrad
- LAMPE
Letzte Aktualisierung am 7.11.2025 / *Affiliate Links / Bilder von der Amazon Product Advertising API




















