Ein Meilenstein in der Zweirad-Hybridtechnologie?
Hybridautos sind seit dem Debüt des Toyota Prius vor über 25 Jahren zum festen Bestandteil des Automobilmarktes geworden. Doch die Verbindung von Benzin und Elektro auf zwei Rädern ist nach wie vor eine Seltenheit. Obwohl einige Firmen sich an Hybrid-Motorrädern versuchten und Kawasaki mit seinem Ninja HEV-Modell 2024 Neuerungen ankündigt, präsentiert Honda eine viel komplexe Variante.
Pioniere auf neuen Wegen
Honda ist dafür bekannt, technologische Herausforderungen anzunehmen und zu meistern. Anstatt den einfacheren Weg zu gehen und lediglich einen Elektromotor zu einem existierenden Verbrennungsmotor hinzuzufügen – wie es Piaggio mit dem MP3 Hybrid 2008 tat –, beschreitet Honda einen innovativen Pfad.
Kawasakis Ninja HEV verfolgt ein multifunktionales Konzept: Elektroantrieb in städtischen Gebieten, Benzinantrieb auf offener Strecke und eine Kombination beider Antriebe für maximale Leistung. Aber Hondas Vision reicht weiter.
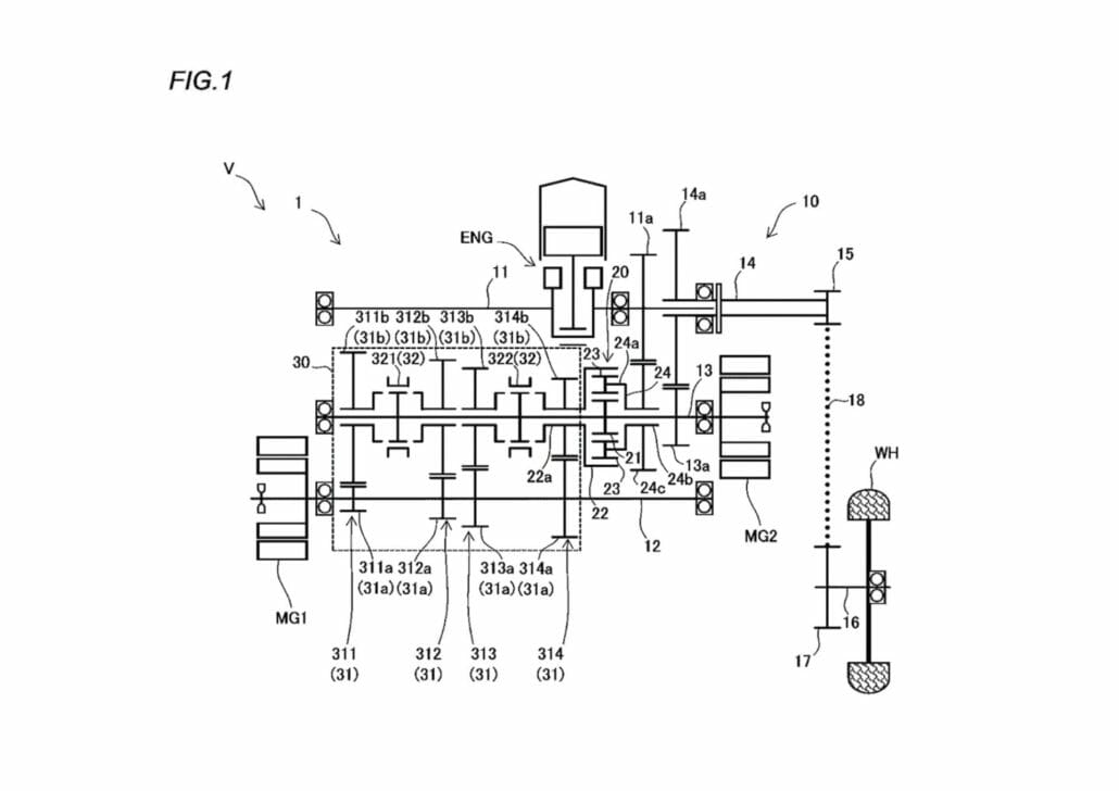
Hondas technologischer Durchbruch
Die neuesten Patente von Honda skizzieren ein Hybrid-Motorrad mit einem Verbrennungsmotor und gleich zwei Elektromotoreinheiten. Ergänzt wird dies durch ein ausgeklügeltes Planetengetriebe und ein manuelles Schaltgetriebe. Dieses Konzept erinnert in seiner Funktionsweise an die Technologien des ersten Prius.
Durch die Abwesenheit einer Kupplung zwischen Motor und Getriebe ermöglicht das Planetengetriebe verschiedene Fahrmodi: rein elektrisch, rein Benzin oder eine Kombination aus beidem. Beide Elektromotoren spielen eine Schlüsselrolle im Antriebskonzept, indem sie entweder als Generator oder als Antrieb dienen.
Was bringt die Zukunft?
Obwohl die Prototypen in den Konturen eines X-ADV 750 dargestellt werden, könnte das endgültige Produkt in einer ganz anderen Form erscheinen. Die Komplexität dieses neuen Systems deutet darauf hin, dass es in einem speziell entwickelten Modell zu Hause sein könnte, welches für lange Touren und hohe Leistung konzipiert ist.
Es ist noch ein langer Weg bis zur Markteinführung dieses innovativen Konzepts. Doch wenn Honda seine Ziele zur Klimaneutralität bis 2040 ernst nimmt, könnte dies genau das Fahrzeug sein, das den Unterschied macht.



[amazon bestseller=“Motorrad Pflege“ items=“3″]
Redakteur bei Motorrad Nachrichten. Fokus auf Technik, Szene und Motorradpolitik – neutral, sachlich, verständlich.
Verantwortlich für die Seiten www.Motorcycles.News, www.Motorrad.Training und den YouTube-Kanal "Motorrad Nachrichten", sowie deren social Media-Seiten.









