[ss_click_to_tweet tweet=“Honda lässt Motorrad per Gedanken steuern – auch in der MOTORRAD NACHRICHTEN APP“ content=“Honda lässt Motorrad per Gedanken steuern – auch in der MOTORRAD NACHRICHTEN APP“ style=“default“]
Was nach einem April-Scherz oder bestenfalls nach Science-Fiction klingt, ist etwas, woran Honda wirklich arbeitet. Gedanken lesen, um das Motorrad besser steuern zu können.
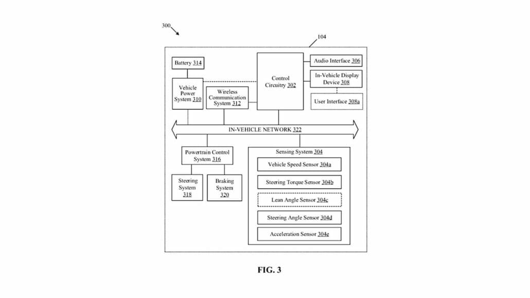
BMI – Brain-Machine-Interface
Arbeiten an einem entsprechenden System wurden jetzt durch die Veröffentlichung eines Honda-Patents bekannt. Das jetzt erst veröffentlichte Patent wurde bereits im Mai 2019 eingereicht und beschreibt eine Zukunftsvision im Motorradbereich. Es dreht sich um etwas, dass von Honda als „Brain-Machine-Interface“ bezeichnet wird.
Das BMI soll dafür genutzt werden, unterschiedliche „Fahrkönnen“ auszugleichen. Schwere Unfälle, die aufgrund von Unerfahrenheit passieren könnten, sollen verhindert werden. Dabei soll das System mit dem Fahrer lernen, bzw. sich mehr und mehr zurückhalten. Das bedeutet, sammelt der Fahrer weitere Erfahrungen und verbessert sein Fahrkönnen, hält sich das System immer mehr zurück und überlässt die Kontrolle mehr und mehr dem Fahrer selbst.
Unterstützend auch bei akrobatischen Fahrzeugmanövern
Im Patent wird auch beschrieben, dass das System beabsichtigte Fahrmanöver anhand kleinster vom Fahrer eingeleiteter Impulse erkennen soll und bei der Umsetzung des Fahrmanövers unterstützend tätig wird. – Auch bei „akrobatischen Fahrzeugmanövern“. In den Patentzeichnungen sind daher auch Wheelies und Stoppies zu sehen.
Wie das alles allerdings genau funktionieren soll ist bisher noch nicht bekannt. Es ist allerdings interessant zu sehen, woran man arbeitet und welchen Visionen man folgt. Kurzfristig wird man ein entsprechendes System allerdings wohl nicht in einem Serienmotorrad vorfinden können.
[amazon box=“B08HQZ5SNT“]
Redakteur bei Motorrad Nachrichten. Fokus auf Technik, Szene und Motorradpolitik – neutral, sachlich, verständlich.
Verantwortlich für die Seiten www.Motorcycles.News, www.Motorrad.Training und den YouTube-Kanal "Motorrad Nachrichten", sowie deren social Media-Seiten.


















