[ss_click_to_tweet tweet=“Honda arbeitet an aufgeladener Africa Twin – auch in der MOTORRAD NACHRICHTEN APP“ content=“Honda arbeitet an aufgeladener Africa Twin – auch in der MOTORRAD NACHRICHTEN APP“ style=“default“]
Honda hat beim japanischen Patentamt Patente angemeldet, die sehr interessante Details zeigen. Per motorgetriebenem Kompressor und einem dualen Einspritzsystem soll die Leistung der Africa Twin gesteigert werden.
Verdrängerlader
Auf den Patent-Skizzen sieht man den 1084cc Parallel-Twin, der mit einem Kompressor und den entsprechenden Rohren ausgestattet wurde. Kawasaki hat bereits einige Kompressor-Modelle auf dem Markt, allerdings unterscheidet sich das Honda-System davon.
Es handelt sich um ein Twin-Screw Design, einem sogenannten Verdrängerlader, der bei jeder Umdrehung eine feste Luftmenge befördert. Dadurch hat man nahezu immer den gleichen Druck, egal ob im Leerlauf oder beim Hochdrehen des Motors. Der maximale Ladedruck wird so über den gesamte Drehzahlbereich erreicht, was eine sehr gute Drehmomentkurve und eine gleichmäßige Leistung ermöglicht. Die dadurch erreichbare gleichmäßige Leistung ist optimal für ein Adventure-Motorrad.
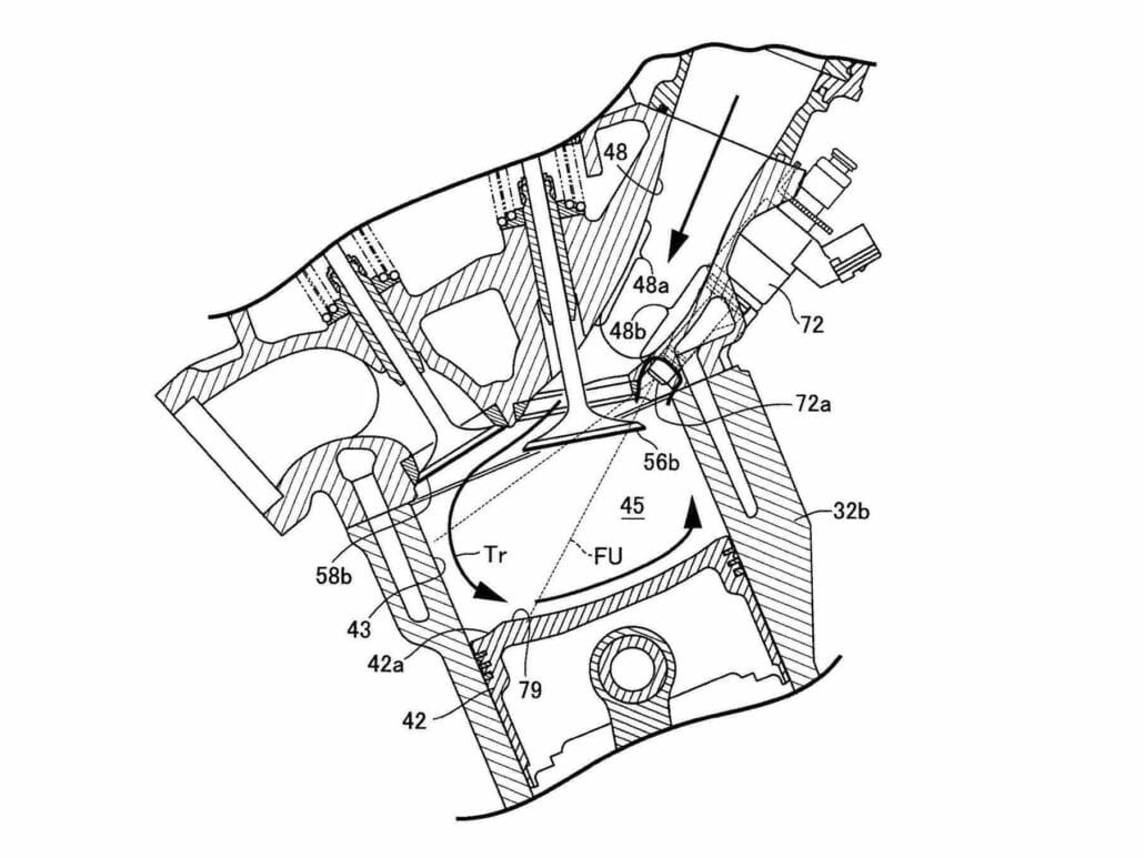
Einspritzdüsen im Zylinder
Auf einer weiteren Zeichnung sieht man in den Zylinder eingebaute Einspritzdüsen. Diese feuern direkt in den Brennraum. Sie sollen dabei helfen, Werte im Bereich Kraftstoffverbrauch, Leistung und Emissionen zu verbessern. Der Motor soll in der Lage sein, anzupassen, welcher Injektor verwendet wird, um die beste Leistung zu erzielen, dabei allerdings so wenig Kraftstoff wie möglich zu verbrauchen.
Honda arbeitet schon länger an Kompressor-Aufladungen, dies ist aber das umfangreichste und detaillierteste Design bisher. Man kann davon ausgehen, dass es wirklich in einem Serienmodell umgesetzt wird.
[amazon box=“ B00RN90EZM „]
Redakteur bei Motorrad Nachrichten. Fokus auf Technik, Szene und Motorradpolitik – neutral, sachlich, verständlich.
Verantwortlich für die Seiten www.Motorcycles.News, www.Motorrad.Training und den YouTube-Kanal "Motorrad Nachrichten", sowie deren social Media-Seiten.














