In the world of motorcycles, the return of forced induction is a rare event. After Kawasaki set a milestone with the Ninja H2, things remained quiet on the supercharger front for a long time. While the Ninja H2R continued to be considered the most powerful production motorcycle with a supercharger, the field seemed to be left to other manufacturers. However, recent technological changes have brought movement to the scene: Honda introduced a fully electric supercharger with the V3R, and Yamaha developed its own solution with the E-Turbo. Now KTM is also entering the stage – with a novel, electrically assisted supercharger system that combines elements of both technologies and, according to the patent, is intended to offer a middle ground between classic superchargers and modern electric drives.
In recent years, Aprilia has become one of the most innovative manufacturers in the field of MotoGP aerodynamics. Newly published patent specifications provide detailed insights into previously unused developments of the RS-GP for the first time. The documents come directly from Marco De Luca, a former Formula 1 aerodynamicist who now heads the technical development department at Aprilia. The focus is on concepts that are intended to emphasize ground effect and cornering stability even more than is currently customary in MotoGP.
In motorcycle racing, precise management of tire pressure and temperature is playing an increasingly important role. In MotoGP in particular, tire pressure is constantly monitored – if it is too low for a prolonged period, penalties are imposed. This is where Honda's latest patent comes in: a newly developed rim and brake system designed to minimize heat transfer to the tires.
In recent years, the topic of aerodynamics in motorcycle construction has changed significantly. Winglets, i.e., small wings on the fairing, were long considered an exclusive feature of racing motorcycles such as those in MotoGP or high-priced superbikes. However, these distinctive attachments can now also be found on production bikes of various displacement classes – from 1000cc super sports bikes to sporty 400cc models. Even in the accessories trade, retrofittable winglets are available for almost every motorcycle.
A new patent from Sweden is causing a stir in the world of motorcycle safety. Airbag Inside Sweden AB, also known as Mo'Cycle, is pursuing a goal with its innovative airbag system: to offer maximum protection for motorcyclists without it being visible from the outside. Unlike conventional protective clothing, the outfit looks like normal everyday clothing—until the moment an accident happens.
Honda is working on an electric superbike: new patent drawings show the Fireblade in electric format
Honda is continuing to push ahead with the electrification of its motorcycle portfolio and has recently filed a patent for a fully electric superbike that is visually and technically reminiscent of the well-known Fireblade. For the development, Honda is utilizing technology and experience from the successful Mugen Shinden project, which was created specifically for the TT Zero at the Isle of Man Tourist Trophy.
Chinese motorcycle manufacturer CFMoto has filed patents for a new type of handlebar and footrest adjustment system. The focus is on a system that allows the rider's seating position to be adjusted to different requirements at the touch of a button. CFMoto is thus picking up on a concept that was previously pursued by Damon Motors, among others, but has not yet been implemented in series production.
Yamaha is apparently working on a comprehensive overhaul of the aerodynamics for its super sports bikes, relying on technology that has previously been used primarily in automotive engineering. A new patent for the Yamaha R1 shows active cooling air outlets on the side fairings for the first time, which open or close automatically depending on various parameters. This system is designed to help reduce drag and improve both performance and emissions.
Ducati is working on a new chapter in motorcycle technology - an automated clutch that does not neglect comfort or sportiness. What initially sounds like a classic step towards automatic transmission turns out, on closer inspection, to be a highly developed, adaptive system aimed at both ambitious riders and racing. With this technology, Ducati is clearly not just trying to catch up, but to set its own standards - in its own style: technically sophisticated, adaptable and future-oriented.
The world of motorcycle technology is all about progress and innovation. Can-Am, known for its recently launched electric motorcycles Origin and Pulse, is now working on another technical innovation: a smart helmet that will offer a variety of modern functions. The helmet, which is currently still in the patent phase, could soon be an addition to Can-Am's new electric motorcycles.
Honda could be working on a new sporty machine that puts the existing CBR400R in the shade. The rumor mill is buzzing, as recent patent applications suggest that Honda is planning a CBR400R with a four-cylinder engine. This potential newcomer to the sportbike segment could be the answer to Kawasaki's successful Ninja ZX-4R, which has already caused quite a stir. Here is what we know so far about the potential model and what it could mean.
Yamaha is currently working on a new electric motorcycle designed for high performance and optimized battery capacity. The recently filed patent applications show that the Japanese manufacturer is working flat out on the development of an electric sports bike. The aim is to make optimum use of the available space for batteries while reducing the overall weight.
Seat belts are a matter of course in cars, but on motorcycles they seem inappropriate at first glance. Nevertheless, Chinese motorcycle manufacturer CFMoto is exploring the possibility of integrating seat belts on motorcycles to increase safety through new technologies such as automatic braking. However, this idea raises many questions and is met with skepticism within the motorcycle scene.
Kawasaki is planning to launch a new electric dirt bike on the market. The Japanese motorcycle manufacturer, which already offers models such as the Ninja and the Z e-1 in the electric segment, now appears to be developing another model. A recently leaked patent shows some details of the upcoming bike.
Yamaha has filed an innovative patent for a new type of active suspension specifically designed to minimize front suspension dive under braking and rear lift under acceleration. This technology, which is similar to that used in MotoGP, could be used on models such as the Yamaha R1, MT-09 and R6, making these bikes even more powerful and safer.
BMW has made a name for itself in the development of lighting systems for motorcycles that offer cornering light functions, among other things. With the introduction of a concept based on gimbal technology, BMW is striving to optimize the performance of motorcycle headlights under various conditions.
Honda is developing a new airbag technology for motorcycles that is designed to provide even better protection for the rider. While the spread of airbags in motorcycle clothing is already well advanced, motorcycle-mounted airbags have so far found only limited acceptance. Honda could now ensure a change with their innovative idea.
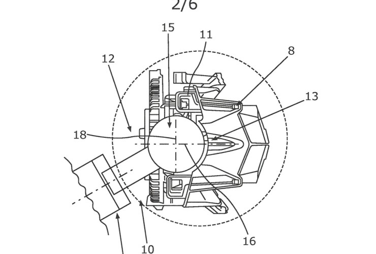
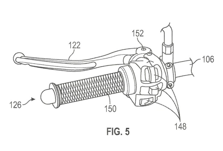
Zero Motorcycles has recently filed a patent application indicating a new clutch system for electric motorcycles. This system could have a significant impact on the riding experience of electric motorcycles and brings traditional elements to modern electric motorcycle technology.
The motorcycle industry may be on the verge of a major innovation that could permanently change the riding experience on the roads and racetracks. At the center of this development is BMW's flagship model, the M 1000 RR, for which a patent application for active aerodynamic elements was recently filed. This indicates an ambitious move to improve efficiency and safety through advanced technology.
Kawasak has already taken a significant step into the future with the introduction of the Ninja 7 Hybrid in 2023. This model followed the prototype that was unveiled at EICMA in 2022. Shortly afterwards, Kawasaki surprised everyone with the Z7 Hybrid, which is built on the same basis. Current speculation now points to a possible addition to the hybrid fleet: the Versys 7 Hybrid.



























