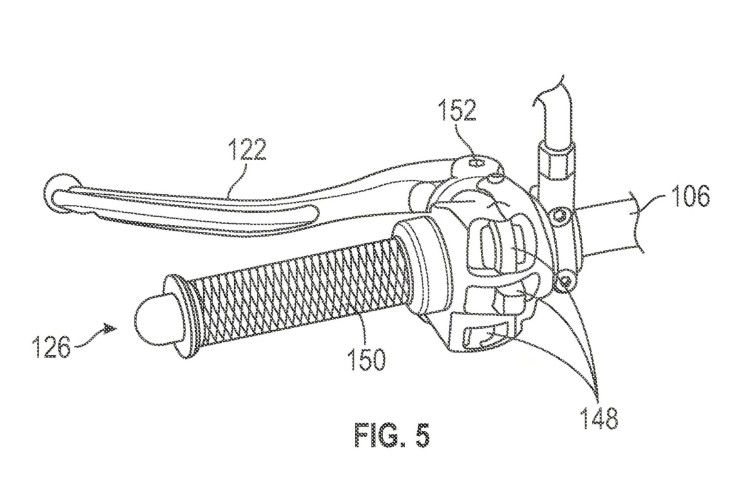
A recent patent from Honda provides insight into a very simply designed electric motorcycle. The design suggests a vehicle that is specifically designed for low cost and simple technology.
Browsing: Patent
Patent
Under this tag you will find articles related to patents and intellectual property filings within the motorcycle sector. This includes technical innovations, new engineering solutions and indications of potential future models or systems.
The list below brings together all content in which patent applications or related documents are discussed — ranging from engine and chassis concepts to electronic systems and design solutions.
Zongshen has filed patents for servo-assisted wheel hub steering in motorcycles. The design is based on the Cyclone RA1000, whose chassis layout is to be extensively modified for this purpose.
BMW has filed a patent describing the use of so-called Flettner rotors on motorcycles. The aim is to generate variable downforce and reduce the disadvantages of conventional winglets.
A new patent from Aprilia suggests that aerodynamic leg wings from MotoGP could also be used on production motorcycles in the future. The solution aims to improve aerodynamics when riding in a straight line and provide additional stability when leaning into corners.
Yamaha is developing a new, simplified version of its semi-automatic transmission solution, Y-AMT. A recent patent shows how costs and complexity can be significantly reduced in order to make the technology usable for other model series.
A newly published patent from Honda shows an assistance system designed to actively steer motorcycles away from impending collisions. The technology could prevent accidents, but raises fundamental questions about control and responsibility when riding a motorcycle.
BMW has patented a new screw profile in which the well-known brand logo itself becomes a tool holder. The idea seems creative at first glance, but could make screwing on BMW motorcycles significantly more complicated.
New patent drawings hint at another electric motorcycle from Honda. The as-yet-unnamed model features an unusual combination of scooter and cruiser and is intended to further expand Honda’s electric strategy.
A new patent from Kawasaki hints at further hybrid models and a modified component layout. The focus is on improved battery cooling and possible implementation in a large-volume scooter.
Yamaha is working on exhaust technology that actively influences riding conditions. New patent documents show systems that specifically redirect exhaust jets to support acceleration, wheelie control, and cornering behavior.
General Motors is working on a novel two-stroke concept designed to avoid the classic weaknesses of this type of engine. A recently published patent application shows how an electronically controlled valve system could reduce emissions and improve efficiency and durability.
In the world of motorcycles, the return of forced induction is a rare event. After Kawasaki set a milestone with the Ninja H2, things remained quiet on the supercharger front for a long time. While the Ninja H2R continued to be considered the most powerful production motorcycle with a supercharger, the field seemed to be left to other manufacturers. However, recent technological changes have brought movement to the scene: Honda introduced a fully electric supercharger with the V3R, and Yamaha developed its own solution with the E-Turbo. Now KTM is also entering the stage – with a novel, electrically assisted supercharger system that combines elements of both technologies and, according to the patent, is intended to offer a middle ground between classic superchargers and modern electric drives.
In recent years, Aprilia has become one of the most innovative manufacturers in the field of MotoGP aerodynamics. Newly published patent specifications provide detailed insights into previously unused developments of the RS-GP for the first time. The documents come directly from Marco De Luca, a former Formula 1 aerodynamicist who now heads the technical development department at Aprilia. The focus is on concepts that are intended to emphasize ground effect and cornering stability even more than is currently customary in MotoGP.
In motorcycle racing, precise management of tire pressure and temperature is playing an increasingly important role. In MotoGP in particular, tire pressure is constantly monitored – if it is too low for a prolonged period, penalties are imposed. This is where Honda’s latest patent comes in: a newly developed rim and brake system designed to minimize heat transfer to the tires.
In recent years, the topic of aerodynamics in motorcycle construction has changed significantly. Winglets, i.e., small wings on the fairing, were long considered an exclusive feature of racing motorcycles such as those in MotoGP or high-priced superbikes. However, these distinctive attachments can now also be found on production bikes of various displacement classes – from 1000cc super sports bikes to sporty 400cc models. Even in the accessories trade, retrofittable winglets are available for almost every motorcycle.
A new patent from Sweden is causing a stir in the world of motorcycle safety. Airbag Inside Sweden AB, also known as Mo’Cycle, is pursuing a goal with its innovative airbag system: to offer maximum protection for motorcyclists without it being visible from the outside. Unlike conventional protective clothing, the outfit looks like normal everyday clothing—until the moment an accident happens.
Honda is continuing to push ahead with the electrification of its motorcycle portfolio and has recently filed a patent for a fully electric superbike that is visually and technically reminiscent of the well-known Fireblade. For the development, Honda is utilizing technology and experience from the successful Mugen Shinden project, which was created specifically for the TT Zero at the Isle of Man Tourist Trophy.
Chinese motorcycle manufacturer CFMoto has filed patents for a new type of handlebar and footrest adjustment system. The focus is on a system that allows the rider’s seating position to be adjusted to different requirements at the touch of a button. CFMoto is thus picking up on a concept that was previously pursued by Damon Motors, among others, but has not yet been implemented in series production.
Yamaha is apparently working on a comprehensive overhaul of the aerodynamics for its super sports bikes, relying on technology that has previously been used primarily in automotive engineering. A new patent for the Yamaha R1 shows active cooling air outlets on the side fairings for the first time, which open or close automatically depending on various parameters. This system is designed to help reduce drag and improve both performance and emissions.
Ducati is working on a new chapter in motorcycle technology – an automated clutch that does not neglect comfort or sportiness. What initially sounds like a classic step towards automatic transmission turns out, on closer inspection, to be a highly developed, adaptive system aimed at both ambitious riders and racing. With this technology, Ducati is clearly not just trying to catch up, but to set its own standards – in its own style: technically sophisticated, adaptable and future-oriented.





















