Bosch arbeitet an Assistenzsystemen, die Motorräder künftig stärker miteinander vernetzen sollen. Cloudbasierte Kommunikation könnte dabei helfen, Gefahren früher zu erkennen und Reaktionszeiten zu verkürzen.
Browsing: Technik
Ein neu veröffentlichtes Patent von Honda zeigt ein Assistenzsystem, das Motorräder aktiv vor drohenden Kollisionen weglenken soll. Die Technik könnte Unfälle verhindern, wirft aber grundlegende Fragen zur Kontrolle und Verantwortung beim Motorradfahren auf.
BMW hat ein neues Schraubenprofil patentieren lassen, bei dem das bekannte Markenlogo selbst zur Werkzeugaufnahme wird. Die Idee wirkt auf den ersten Blick kreativ, könnte aber das Schrauben an BMW Motorrädern deutlich komplizierter machen.
Mit dem GT-Air 3 Smart stellt Shoei einen Integralhelm vor, der erstmals ein vollständig integriertes Head-Up-Display bietet. Möglich wird dies durch eine enge Zusammenarbeit mit dem französischen Spezialisten EyeLights, die auf der EICMA in Mailand erstmals öffentlich gezeigt wurde.
Shoei stellt mit e:DRYLENS einen neuen elektronischen Visier Einsatz vor, der Beschlagschutz und variablen Sonnenschutz kombinieren soll. Die Technik ist zunächst nur für ausgewählte Helme und ausschließlich für den japanischen Markt angekündigt.
Ein neues Patent von Kawasaki gibt Hinweise auf weitere Hybridmodelle und eine veränderte Anordnung der Komponenten. Im Mittelpunkt steht eine verbesserte Kühlung der Batterie und eine mögliche Umsetzung in einem großvolumigen Roller.
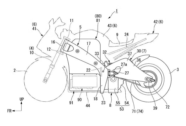
Honda arbeitet offenbar konkret an einem neuen V4 Motor. Patente mit hoher Detailtiefe deuten darauf hin, dass das Traditionskonzept vor einer Rückkehr stehen könnte.
Kawasaki arbeitet an einem ungewöhnlichen Fortbewegungsmittel, das die Geländeerfahrung völlig neu interpretieren soll. Corleo, ein vierradgetriebenes Offroad-System auf robotischen Beinen, soll in den kommenden Jahren sowohl auf Großveranstaltungen als auch im alpinen Alltag eingesetzt werden.
Yamaha arbeitet an einer Abgastechnik, die den Fahrzustand aktiv beeinflussen soll. Neue Patentunterlagen zeigen Systeme, die Abgasstrahlen gezielt umlenken, um Beschleunigung, Wheelie-Kontrolle und Kurvenverhalten zu unterstützen.
General Motors arbeitet an einem neuartigen Zwei Takt Konzept, das klassische Schwachstellen der Bauart vermeiden soll. Ein jüngst veröffentlichter Patentantrag zeigt, wie ein elektronisch gesteuertes Schiebersystem Emissionen reduzieren und Effizienz sowie Haltbarkeit verbessern könnte.
Tesla möchte sein Full Self-Driving-System möglichst schnell in Europa einführen, doch schwere Unfälle mit Motorrädern werfen Fragen zur Sicherheit auf. Die niederländische Zulassungsbehörde RDW fordert, dass der Schutz von Motorradfahrern im Mittelpunkt steht – erst dann könne eine Zulassung erfolgen.
MV Agusta arbeitet an einem neuen Motorenkonzept, das sich deutlich von klassischen Bauformen absetzt. Der sogenannte Cinque Cilindri kombiniert fünf Zylinder in einer kompakten Anordnung, die an VR-Motoren erinnert, ohne jedoch deren typische V-Struktur zu übernehmen. Das Konzept wurde erstmals auf der EICMA gezeigt und anschließend mit weiteren Informationen ergänzt.
MV Agusta hat auf der EICMA einen neuartigen Motor vorgestellt, der als Cinque Cilindri bezeichnet wird. Das Modell steht für ein neues Kapitel in der Motorenentwicklung der Marke. Der Motor setzt auf fünf Zylinder, drei Nockenwellen und elektrisch angetriebene Nebenaggregate. Mit dieser Entwicklung entfernt sich MV Agusta von bisherigen, drehzahlorientierten Antriebskonzepten und verfolgt das Ziel, Technikfaszination und Alltagstauglichkeit miteinander zu verbinden.
Honda präsentierte auf der EICMA 2025 in Mailand den Prototypen der V3R 900 mit elektronischem Kompressor. Mit diesem Motorrad setzt der Hersteller auf technische Innovation und verfolgt das Ziel, ein ausgewogenes Verhältnis zwischen Leistung, Fahrspaß und Umweltverträglichkeit zu erreichen. Die V3R 900 mit E-Kompressor steht dabei exemplarisch für Hondas Zukunftsstrategie im Bereich sportlicher Straßenmotorräder.
Strengere Emissionsvorschriften, steigende Anforderungen an Effizienz und der Wunsch nach mehr Leistung aus kleineren Motoren stellen Motorradhersteller vor neue Herausforderungen. Aufladungssysteme wie Turbolader, Kompressoren oder elektrische Verdichter könnten daher vor einer Rückkehr im Motorradbau stehen. Während solche Techniken bei Autos längst etabliert sind, halten sie bei Motorrädern erst allmählich Einzug. Modelle wie die kommende Honda V3R mit elektrischem Kompressor, die bereits erhältlichen Kompressor-Bikes von Kawasaki oder innovative Hybridansätze zeigen: Die Entwicklung nimmt Fahrt auf. Doch welche Systeme gibt es, wie funktionieren sie, und welche Auswirkungen haben sie auf Fahrverhalten, Sound und Alltagstauglichkeit?
Ein US-amerikanisches Unternehmen aus Massachusetts, 24M, hat nach eigenen Angaben eine innovative Batterietechnologie entwickelt, die das Potenzial haben soll, die Elektromobilität grundlegend zu verändern. Die Technologie verspricht nicht nur eine deutlich höhere Reichweite von bis zu 1.000 Meilen (entspricht ca. 1.609 km), sondern auch niedrigere Kosten, erhöhte Sicherheit und flexible Einsatzmöglichkeiten – auch für Elektromotorräder.
Auf der Japan Mobility Show 2025 zeigt Suzuki eine breite Palette an Konzepten und Studien, die von alternativen Antrieben bis zu einem Jubiläumsmodell der GSX-R1000R reichen. Der Hersteller demonstriert damit seine Strategie, sowohl traditionelle Sportmotorräder als auch moderne Lösungen für nachhaltige Mobilität anzubieten.
Knapp zehn Jahre nach dem Einstieg in die MotoGP hat KTM einen weiteren bedeutenden Schritt in seiner Motorsportgeschichte vollzogen. Im österreichischen Mattighofen wurde das neue 850cc-Motorenkonzept für die Saison 2027 erstmals auf dem Prüfstand getestet. Anlass ist das kommende technische Reglement, das ab 2027 in der Königsklasse gilt.
Yamaha hat ein Patent eingereicht, das sich einem bekannten Problem bei Elektromotorrädern widmet: Viele Motorradfahrer empfinden den Umstieg auf Elektroantrieb als weniger emotional, da ihnen das typische Motorengeräusch und die Vibrationen eines Verbrennungsmotors fehlen. Mit einer neuartigen technischen Lösung soll dieser Nachteil kompensiert werden.
Die chinesische Marke Benda sorgt mit ungewöhnlichen Motorenkonfigurationen zunehmend für Aufmerksamkeit. Während das Unternehmen erst seit Kurzem auf dem US-Markt aktiv ist und dort vor allem 300cc bis 500cc V2-Modelle anbietet, zeigt Benda auf dem heimischen Markt deutlich mehr Innovationsfreude. Bei der jüngsten CIMAMotor-Messe präsentierte Benda nicht nur ein radikales Hybrid-Konzept mit 250cc-Boxermotor, sondern auch einen komplett neu entwickelten Reihen-Sechszylinder mit 1700cc Hubraum.





















