Mit der Manx R 2026 stellt Norton sein erstes neues Superbike unter der Leitung des indischen Mutterkonzerns TVS vor. Das Modell markiert nicht nur den Beginn einer umfassenden Produktoffensive, sondern soll die britische Traditionsmarke nach Jahren der Unsicherheit neu positionieren.
Der Schweizer Moto3-Fahrer Noah Dettwiler, der Ende Oktober beim Grand Prix von Malaysia in Sepang schwer verunglückte, steht kurz vor der Rückkehr in seine Heimat. Nach mehreren Operationen und intensivmedizinischer Behandlung in Kuala Lumpur haben die Ärzte dem medizinischen Rücktransport zugestimmt. Am Donnerstag, dem 6. November, soll der 20-Jährige per Flugzeug nach Zürich gebracht werden.
CFMoto geht den nächsten großen Schritt in Richtung High-Performance-Motorradsegment: Mit der V4 SR-RR hat der chinesische Hersteller auf der EICMA 2025 ein Superbike vorgestellt, das sich in puncto Leistung und Technik direkt an der Elite der Branche orientiert. Die Maschine befindet sich derzeit im Prototyp-Stadium, doch vieles deutet darauf hin, dass ein Serienmodell bereits 2026 auf den Markt kommen könnte.
Mit der Enthüllung der neuen BSA Thunderbolt auf der EICMA 2025 setzt der traditionsreiche Hersteller BSA seinen Expansionskurs fort und präsentiert erstmals ein Adventure-Bike. Das Modell knüpft an die Geschichte der ursprünglichen Thunderbolt an, die bereits in den 1970er Jahren Touring- und Offroad-Qualitäten bot. Die Neuauflage wurde als moderne Interpretation konzipiert, um die Bedürfnisse einer neuen Generation von Fahrern zu erfüllen.
Auf der EICMA 2025 in Mailand hat Ultraviolette einen umfassenden Einblick in seine zukünftige Ausrichtung und das erweiterte Produktportfolio gegeben. Neben Elektromotorrädern und -rollern wurde erstmals das weltweit erste Serienmotorrad mit integrierter Radartechnologie vorgestellt. Zusätzlich präsentierte das Unternehmen mit dem UVCrossfade einen vernetzten Carbonfaserhelm, der auf eine neue Stufe der Fahrersicherheit und Konnektivität abzielt.
Mit der BMW F 450 GS erweitert BMW Motorrad seine GS-Modellfamilie um ein sportliches Adventure-Bike speziell für die 48-PS-A2-Klasse. Entwickelt für Fahrer, die ein leichtes, agiles und zugleich robustes Motorrad für den Alltag, Touren und Offroad-Abenteuer suchen, setzt die neue F 450 GS auf bewährte GS-Technik und ein modernes, eigenständiges Design.
Harley-Davidson hat ausgewählte Motorräder für das Modelljahr 2026 vorgestellt, die bereits ab dem ersten Quartal 2026 bei den Vertragshändlern weltweit erhältlich sein sollen. Die Ankündigung erfolgte auf der offiziellen Website sowie im Video „Model Year 2026 Reveal – Chapter One – November 4th“ auf dem firmeneigenen YouTube-Kanal. Eine weitere Vorstellung neuer Modelle, darunter auch die limitierte Custom Vehicle Operations (CVO) Kollektion, ist für den 14. Januar 2026 angekündigt.
Im Vorfeld des 100. Geburtstags präsentiert sich Ducati auf der EICMA 2025 mit einer besonders umfangreichen und technisch weiterentwickelten Modellpalette. Der italienische Hersteller setzt dabei sowohl auf Tradition als auch auf Innovation und zeigt in Mailand zahlreiche Neuheiten, die das sportliche Erbe und die technologische Kompetenz des Unternehmens unterstreichen.
Honda präsentierte auf der EICMA 2025 in Mailand den Prototypen der V3R 900 mit elektronischem Kompressor. Mit diesem Motorrad setzt der Hersteller auf technische Innovation und verfolgt das Ziel, ein ausgewogenes Verhältnis zwischen Leistung, Fahrspaß und Umweltverträglichkeit zu erreichen. Die V3R 900 mit E-Kompressor steht dabei exemplarisch für Hondas Zukunftsstrategie im Bereich sportlicher Straßenmotorräder.
Zero Motorcycles hat auf der EICMA 2025 in Mailand ein umfassendes Update seiner Elektromotorrad-Palette vorgestellt. Im Mittelpunkt steht der brandneue Urban Scooter LS1, flankiert von einer umfangreich überarbeiteten Modellreihe für das Modelljahr 2026 sowie dem visionären Lompico Concept, das einen Ausblick auf kommende Technologien und Designlinien bietet.
Beeline, bekannt für minimalistische Navigationslösungen aus London, feierte 2025 auf der EICMA in Mailand eine Premiere: Zum ersten Mal trat das Unternehmen mit einer eigenen Markenfläche auf einer der größten Motorradmessen der Welt auf. Gemeinsam mit dem italienischen Vertriebspartner Cellularline präsentierte sich Beeline in Halle 14 am Stand E27. Der Messeauftritt markiert einen wichtigen Meilenstein und unterstreicht die gestärkte Präsenz der Marke innerhalb der europäischen Motorrad-Community.
MV Agusta präsentiert mit der Brutale 950 Serie Oro ein neues Kapitel in der Geschichte der Naked Bikes. Die streng auf 300 Einheiten limitierte Sonderedition setzt auf einen neu entwickelten Dreizylinder-Motor, innovative Elektronik und hochwertige Komponenten – und bildet den Auftakt zu einer komplett neuen Modellgeneration, die ab dem zweiten Quartal 2026 an den Start gehen soll.
Für das Modelljahr 2026 präsentiert Kawasaki die Ninja ZX-10R und die rennsportorientierte Ninja ZX-10RR mit umfangreichen Neuerungen, die insbesondere auf Aerodynamik, Elektronik und Fahrwerksabstimmung abzielen. Die ZX-10R ist seit Jahren eine feste Größe im Superbike-Segment und bringt zahlreiche Titelgewinne aus der Superbike-Weltmeisterschaft (WorldSBK) mit.
Brabus und KTM stehen kurz vor der Präsentation der neuen Brabus 1400 R Signature Edition, die voraussichtlich auf der EICMA in Mailand vom 6. bis 9. November ihr Debüt feiern wird. Die jüngste Generation der gemeinsam entwickelten Power-Naked-Bikes soll das bisherige Topmodell, die Brabus 1300 R Masterpiece Edition, ablösen. Bereits erste Prototypenbilder und technische Informationen deuten auf eine umfassende Weiterentwicklung hin.
Mit der Himalayan 450 Rally Raid plant Royal Enfield die Einführung einer noch geländegängigeren Version seiner bekannten Adventure-Baureihe. Das Motorrad soll am 4. November 2025 im Rahmen der EICMA vorgestellt werden. Bereits vor der offiziellen Premiere sind erste Details zu Ausstattung und Technik durchgesickert.
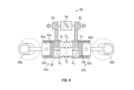
Strengere Emissionsvorschriften, steigende Anforderungen an Effizienz und der Wunsch nach mehr Leistung aus kleineren Motoren stellen Motorradhersteller vor neue Herausforderungen. Aufladungssysteme wie Turbolader, Kompressoren oder elektrische Verdichter könnten daher vor einer Rückkehr im Motorradbau stehen. Während solche Techniken bei Autos längst etabliert sind, halten sie bei Motorrädern erst allmählich Einzug. Modelle wie die kommende Honda V3R mit elektrischem Kompressor, die bereits erhältlichen Kompressor-Bikes von Kawasaki oder innovative Hybridansätze zeigen: Die Entwicklung nimmt Fahrt auf. Doch welche Systeme gibt es, wie funktionieren sie, und welche Auswirkungen haben sie auf Fahrverhalten, Sound und Alltagstauglichkeit?
Zero Motorcycles, nach eigenen Angaben einer der bekanntesten Hersteller von Elektromotorrädern, hat einen Wechsel an der Unternehmensspitze bekannt gegeben. Pierre-Martin Bos übernimmt ab sofort die Position des Chief Executive Officer (CEO). Er folgt auf Sam Paschel, der das Unternehmen in den vergangenen acht Jahren leitete und weiterhin als Senior Board Advisor in beratender Funktion tätig bleibt.
Yamaha stellt auf der Japan Mobility Show 2025 in Tokio neue Ansätze im Bereich Elektromobilität vor. Im Mittelpunkt stehen Modelle und Systeme, die speziell für ein besonderes Fahrerlebnis sowie eine verbesserte Alltagstauglichkeit entwickelt wurden. Ein zentrales Thema ist die Charakteristik von Elektro- und Hybridantrieben, die bereits bei niedrigen Geschwindigkeiten ein hohes Drehmoment bieten. Dadurch ist es möglich, ganz ohne Kupplung zu fahren – das soll insbesondere das Handling vereinfachen.
Mit dem EV Outlier Concept präsentiert Honda auf der Japan Mobility Show 2025 eine eigenständige Interpretation der zukünftigen Elektromobilität im Motorradbereich. Die Studie gibt einen Ausblick darauf, wie Motorräder ab 2030 aussehen könnten. Der Name „Outlier“ ist Programm – das Konzeptfahrzeug hebt sich bewusst von herkömmlichen Entwicklungen ab und zeigt innovative Lösungen, die sowohl technisch als auch optisch neue Wege gehen.
Nicolò Bulega wird für die letzten beiden Rennen der MotoGP-Saison 2025 das Ducati Lenovo Team verstärken. Der Vizeweltmeister der Superbike-WM übernimmt das Motorrad von Marc Márquez und feiert damit beim Grand Prix von Portugal (07. bis 09. November 2025) sowie beim Saisonfinale in Valencia seine Premiere in der Königsklasse. Bereits zuvor sammelte Bulega erste Erfahrungen mit der Desmosedici GP im Rahmen eines Tests in Jerez de la Frontera.



























