Neuinterpretation des Rahmendesigns
Anders als bei herkömmlichen Designs, bei denen eine Stahl- oder Aluminiumstruktur um den Motor herum den Lenkkopf mit dem Schwingenlager verbindet, ist bei BMWs neuem Konzept eine einfache, gegossene Frontstruktur direkt am Motor befestigt. Sie bietet eine direkte Verbindung zum Lenkkopf und ermöglicht es der Schwinge, direkt am Getriebe zu schwenken. Dabei dient der Motor als Hauptstruktur. Dieses Design erinnert an Ducatis Panigale-Modelle, bei denen der Motor ebenfalls als Hauptstruktur dient. BMW geht allerdings noch einen Schritt weiter, indem die Befestigung des Rahmens am Motor über die Zylinderkopfschrauben erfolgt.
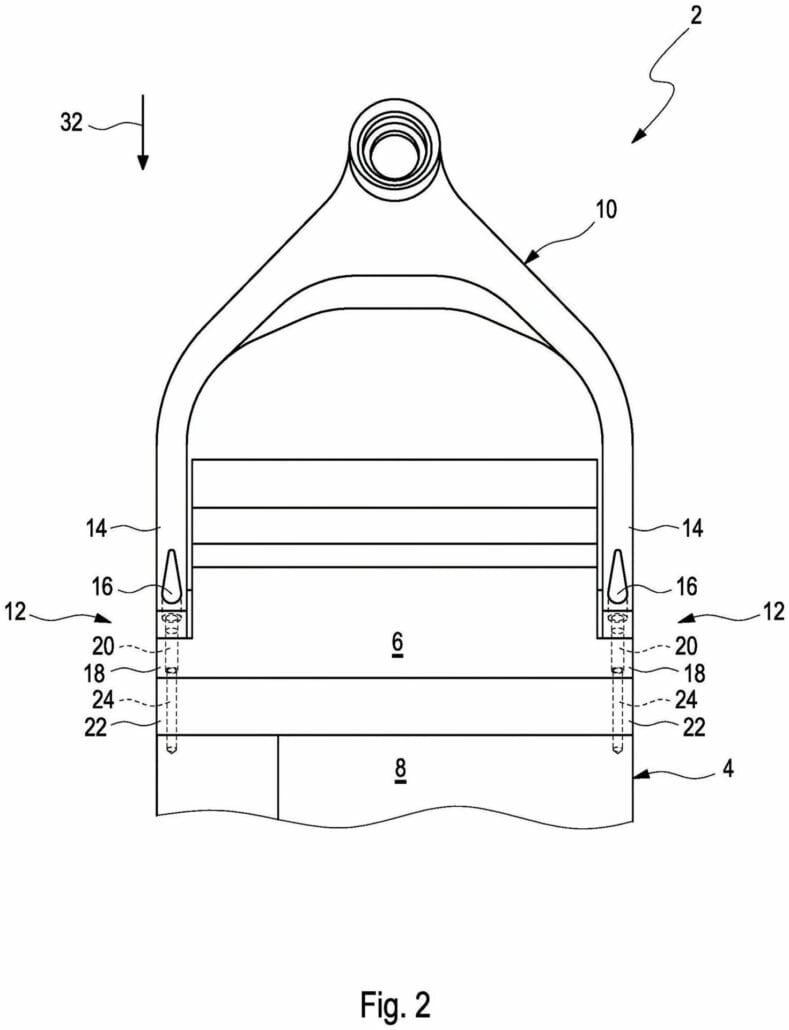
BMW Rahmen
Die Vorteile dieser Konstruktion liegen auf der Hand: Durch die direkte Verbindung von Zylindern und Halbrahmen werden die Kräfte in einer geraden Linie von einem Ende des Motorrads zum anderen übertragen. Das reduziert nicht nur die Anzahl der Bauteile und das Gewicht des Motorrads, sondern minimiert auch die Breite – eine typische Schwachstelle von Motorrädern mit quer eingebauten Reihenmotoren.
Fokus auf Breitenreduktion
Bisher hatten V-Zweizylinder- und V-Vierzylinder-Motoren in Sachen Breite die Nase vorn, was unter anderem aerodynamische Vorteile mit sich brachte. BMWs Design könnte das Beste aus beiden Welten vereinen und ein schmales Motorrad mit den geringeren Kosten eines Reihenmotors ermöglichen.
Drei- oder Vierzylinder-Motoren im Blick
Das BMW-Patent deutet auch darauf hin, dass die neue Rahmenkonstruktion um einen Drei- oder Vierzylinder-Motor herum konzipiert sein könnte. Während BMW bereits über eine breite Palette von Vierzylindern verfügt, wie sie zum Beispiel in der S 1000 RR zu finden sind, wäre ein Dreizylinder schmaler. Zwar gab es schon in der Vergangenheit Dreizylinder-BMWs, wie die K75, doch ist es Jahrzehnte her, dass ein Dreizylinder in der BMW-Motorradpalette zu finden war.
Rückblick auf die Drei-Zylinder-Experimente
Das Unternehmen hat in jüngerer Vergangenheit mit Dreizylinder-Motorrädern experimentiert. Zu den bekanntesten gehört das in den frühen 2000er Jahren eingestellte MotoGP-Projekt, bei dem BMW einen 3.000 Kubikzentimeter großen V-Zehn-Motor aus der Formel 1 als Basis nutzte. Drei Zylinder dieses Motors kamen sehr nahe an das 990 Kubikzentimeter MotoGP-Kapazitätslimit der damaligen Zeit heran, weshalb BMW in diese Richtung ging. Obwohl ein Motorrad gebaut und auch getestet wurde, wurde das Projekt schließlich eingestellt.
Gerüchte und Spekulationen
Seitdem halten sich Gerüchte um ein Dreizylinder-Sportmotorrad von BMW. Immer wieder tauchen Spekulationen im Internet auf, dass eine kleinere Maschine – vielleicht eine S 675 RR – in der Entwicklung sein könnte, allerdings ohne handfeste Beweise. Dieses Patent, mit seiner spezifischen Erwähnung eines Dreizylinder-Motors, könnte das erste echte Anzeichen dafür sein, dass ein solches Motorrad tatsächlich in Betracht gezogen wurde.
Von der Anmeldung eines Patents bis zur Markteinführung eines Produkts ist es jedoch oft ein langer Weg und eine Garantie, dass es ein Patent in die Serienproduktion schafft, gibt es auch nicht. Ob und wann wir einen BMW-Dreizylinder auf der Straße sehen werden, bleibt also abzuwarten.














