[ss_click_to_tweet tweet=“BMW-Patent, Knautschzone fürs Motorrad – auch in der MOTORRAD NACHRICHTEN APP“ content=“BMW-Patent, Knautschzone fürs Motorrad“ style=“default“]
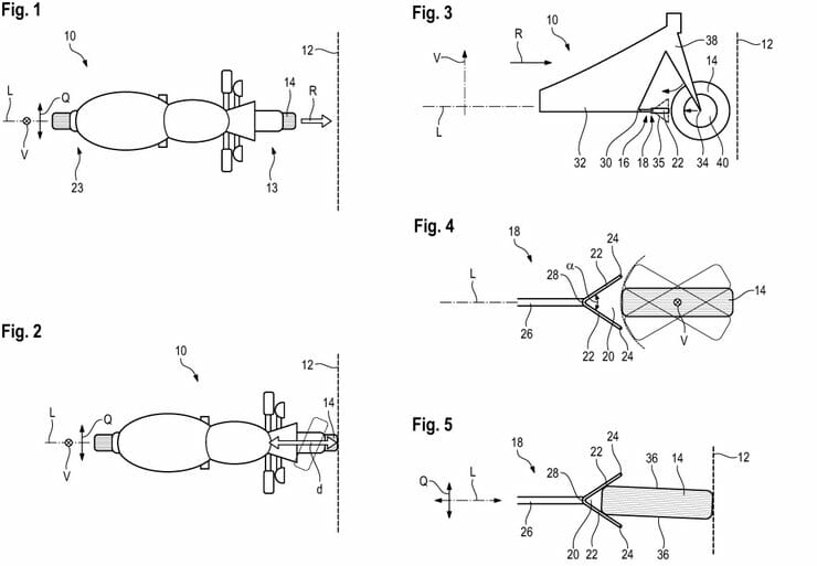
Laut Patentzeichnungen arbeitet BMW daran, eine Art Knautschzone für das Motorrad zu entwickeln, die bei einem Unfall zumindest einen Teil der Aufprallgeschwindigkeit absorbiert.
Laut dem Patent wird das Vorderrad zur Knautschzone umfunktioniert. Bei einem Aufprall dreht sich das Rad meist zur Seite. Eine V-förmige Stütze hinter dem Rad soll das verhindern, wodurch das Rad als kleine Knautschzone fungieren kann.
Die V-förmige Konstruktion könnte das Abbauen der Aufprallgeschwindigkeit weiter unterstützen.
Es muss klar sein, dass ein entsprechendes System keine Wunder bewirken kann und auch nur begrenzt zu helfen vermag, aber auch eine kleine Verbesserung ist eine Verbesserung. Ob es den Weg in die Serienproduktion schaffen wird ist allerdings unklar.
[amazon box=“B084SR1B8H“]
Redakteur bei Motorrad Nachrichten. Fokus auf Technik, Szene und Motorradpolitik – neutral, sachlich, verständlich.
Verantwortlich für die Seiten www.Motorcycles.News, www.Motorrad.Training und den YouTube-Kanal "Motorrad Nachrichten", sowie deren social Media-Seiten.










