Einblick in Aprilias Patent: Aerodynamik vom Rennsport inspiriert
Aprilia hat ein neues Patent angemeldet, das Aufschluss über mögliche zukünftige Entwicklungen in der Motorradindustrie gibt. Das Patent bezieht sich auf ein aerodynamisches Design, das ursprünglich für das RS-GP MotoGP-Bike entwickelt wurde. Es kombiniert Heckflügel und Spoiler in einer Weise, die sowohl für Rennstrecken als auch potenziell für Straßenmotorräder geeignet sein könnte.
Das Potenzial hinter dem Patent: Aero-Technik für die Straße?
Das Patent beschreibt detailliert, wie das Heckflügel- und Spoilersystem funktioniert und suggeriert, dass diese Technologie eventuell auch auf Straßenmotorräder übertragen werden könnte. Während die Vorteile solcher aerodynamischer Elemente im Rennsport offensichtlich sind, bleibt ihr potenzieller Nutzen für Straßenmotorräder noch unklar.
Praktischer Nutzen der Aero-Features
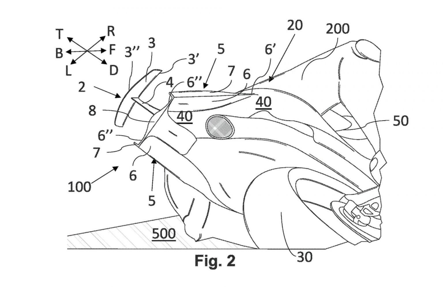
Das von Aprilia patentierte System ist mehr als nur ein einfacher Heckflügel. Es kombiniert seitlich angebrachte Flügel mit einem hochmontierten Spoiler, was darauf abzielt, das Hinterrad speziell bei hohen Geschwindigkeiten und beim Bremsen auf der Straße zu halten. Wie im Patent beschrieben, kann dies das Fahren in bestimmten Situationen, wie beim Bremsen in Kurven, verbessern.
Aprilias Position im Superbike-Rennsport
Obwohl Aprilia derzeit nicht in der WSBK-Serie antritt, könnte ein patentiertes Design wie dieses in der Zukunft Vorteile bieten, insbesondere da WSBK-Regeln Winglets erlauben, wenn sie auf den entsprechenden Serienmodellen vorhanden sind. Dieses Patent zeigt Aprilias Interesse, ihre Rennsporttechnologie in zukünftige Serienmodelle einfließen zu lassen, ähnlich wie andere Hersteller es bereits tun.
Zusammenfassung: Aprilias Ansatz in der Motorradentwicklung
Das Patent von Aprilia spiegelt den Trend wider, Rennsporttechnologien in Serienmotorrädern einzusetzen. Während die direkten Vorteile solcher aerodynamischen Features auf der Straße noch zu beweisen sind, zeigt das Patent, dass Aprilia Möglichkeiten erforscht, ihre Rennsporterfahrungen auf alltägliche Motorräder zu übertragen. Wie und wann diese Technologien in zukünftigen Aprilia-Modellen umgesetzt werden, bleibt abzuwarten.
[amazon bestseller=“Motorrad Winglets“ items=“2″]


Redakteur bei Motorrad Nachrichten. Fokus auf Technik, Szene und Motorradpolitik – neutral, sachlich, verständlich.
Verantwortlich für die Seiten www.Motorcycles.News, www.Motorrad.Training und den YouTube-Kanal "Motorrad Nachrichten", sowie deren social Media-Seiten.








